SN126 "Maximum Attenuation" Silencer
SA 125 << Back to Silencers >>
If you have any questions relating to this or any of our products, please do not hesitate to contact us.
General
Specification
These silencers are recommended for use on diesel exhaust gas lines where noise levels have to meet the most critical specifications, without creating excessive back pressure. They are designed using the well known reactive and absorptive principles and the unique configuration combination combines these together to produce the most effective attenuation over a wide band. The design gives low noise breakout and surface temperatures. Use the attenuation and mass flow / resistance graphs to select the optimum size for the required gas flow.
Construction
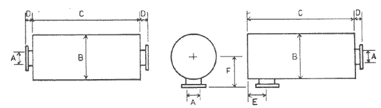
A cylindrical shell manufactured from heavy gauge sheet steel, fully welded. All plates are manufactured form flat plate.
End Connectors
Unless otherwise specified, screwed BSP connectors will be supplied on 50mm - 76mm (2" -3") silencers and flanges to BS10 (Table D) on all larger sizes. Flanges to other standards can be supplied on special quotation.
Side Entry Silencers
If these are required, please specify SN 126(SE) when ordering.

| Nominal Bore (A) | Diameter (B) | Length (C) | (D) | (E) | (F) | Approx. weight (kilos) |
| 50 (2") | 305 (12") | 813 (32") | 38 | 76 | 203 | 30 |
| 64 (2½") | 305 (12") | 914 (36") | 28 | 89 | 229 | 40 |
| 76 (3") | 356 (14") | 1000 (39") | 50 | 102 | 279 | 48 |
| 89 (3½") | 457 (18") | 1219 (48") | 76 | 102 | 305 | 70 |
| 100 (4") | 559 (22") | 1219 (48") | 76 | 127 | 356 | 80 |
| 125 (5") | 610 (24") | 1473 (58") | 76 | 152 | 381 | 128 |
| 150 (6") | 660 (26") | 1676 (66") | 76 | 165 | 406 | 150 |
| 200 (8") | 762 (30") | 2000 (79") | 76 | 190 | 457 | 250 |
| 250 (10") | 914 (36") | 2438 (96") | 89 | 229 | 546 | 450 |
| 300 (12") | 1067 (42") | 2819 (111") | 89 | 254 | 622 | 750 |
| 350 (14") | 1067 (42") | 3048 (120") | 89 | 292 | 622 | 800 |
| 400 (16") | 1219 (48") | 3581 (141") | 89 | 318 | 700 | 1150 |
| 450 (18") | 1372 (54") | 3962 (156") | 102 | 343 | 787 | |
| 500 (20") | 1524 (60") | 4343 (171") | 102 | 381 | 864 |
Note (i) Dimensions in millimetres
(ii) Dimension 'E' is a minimum distance
Typical Noise Attenuation Graph

The above graph is based on simplified theoretical considerations and extrapolated from various noise tests. The actual noise reduction obtained on any particular installation will depend upon the power and type of the noise source, the local environment and the selection of the correct size of silencer for that engine.
Velocity / Resistance Graph

This graph is based on simplified theoretical considerations and is issued as a guide. The actual resistance experienced will depend on a number of factors affecting the individual installation.
If you have any questions relating to this or any of our products, please do not hesitate to contact us.